来源:考试1002024-06-12 13:55:32阅读数:8321
报名一级消防工程师考试时,应试人员需为中华人民共和国公民,遵守国家法律、法规,恪守职业道德,并满足学历、工作年限及相关专业的要求,其中专业属于非硬性要求。
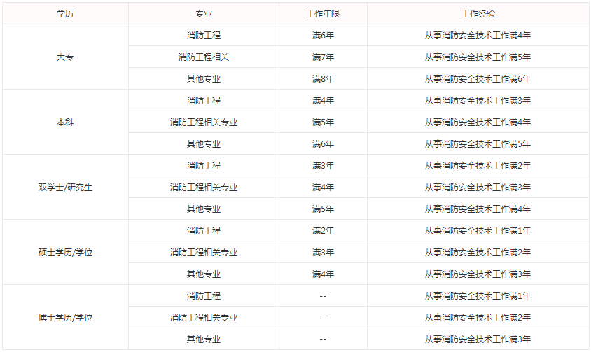
一级消防工程师报名条件

1、取得消防工程专业(或相关专业)大学专科学历,工作满6年(7年),当中从事消防安全技术工作满4年(5年);
2、取得消防工程专业(或相关专业)大学本科学历或者学位,工作满4年(5年),当中从事消防安全技术工作满3年(4年);
3、取得含消防工程专业(或相关专业)在内的双学士学位或者研究生班毕业,工作满3年(4年),当中从事消防安全技术工作满2年(3年);
4、取得消防工程专业(或相关专业)硕士学历或者学位,工作满2年(3年),当中从事消防安全技术工作满1年(2年);
5、取得消防工程专业(或相关专业)博士学历或者学位,从事消防安全技术工作满1年(2年);
6、取得其他专业相应学历或者学位的人员,其工作年限和从事消防安全技术工作年限均相应增加1年。
一级消防工程师报名时间
根据《2024年度专业技术人员职业资格考试重要提示》可知,2024年一级消防工程师考试报名时间预计为9月1日至20日。各地报名时间有所差异,详细时间以本地考试管理机构发布通知为准。

编辑推荐:
