来源:考试1002024-06-12 13:52:40阅读数:3833
一级消防工程师报考年龄要求
一级消防工程师报考条件中,并未对报考人员年龄作出要求。也就是说,不论目前处于什么年龄阶段,只要符合学历、工作年限和专业要求,都能报名一消。
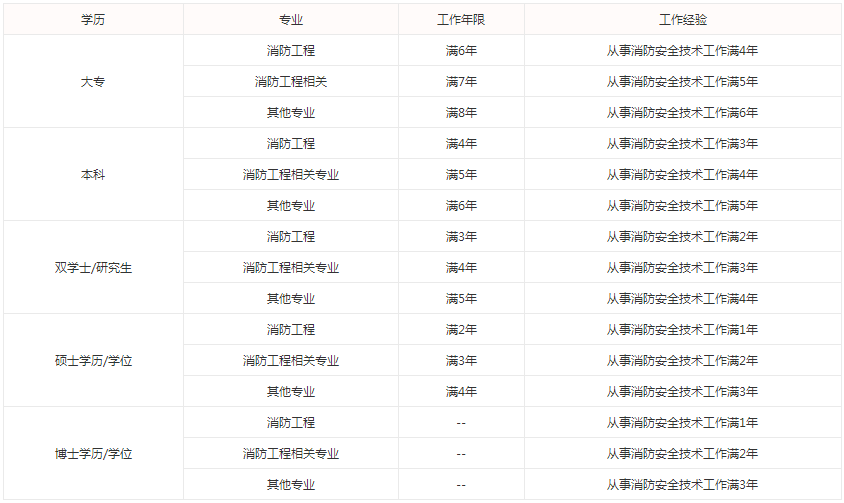
一级消防工程师报名条件如下:

一级消防工程师报名条件说明
(一)消防安全技术工作的范围
消防安全技术工作包括:消防技术咨询与消防安全评估、消防安全管理与消防技术培训、消防设施维护保养检测、消防安全监测与检查、火灾事故技术分析等消防技术工作。
(二)工作年限的计算方式
工作年限、从事消防安全技术工作年限可累计,计算截止日期为考试当年度的12月31日。
(三)学历、学位条件的具体要求
大专及以上学历和学士及以上学位,包括经过普通高等教育、成人高等教育、电大开放教育、网络远程教育、高等教育自学考试所取得的学历和学位,以及其他国家承认的学历、学位。
一级消防工程师报名时间2024
根据《2024年度专业技术人员职业资格考试重要提示》可知,2024年一级消防工程师考试报名时间预计为9月1日至20日。各地报名时间有所差异,详细时间以本地考试管理机构发布通知为准。

编辑推荐:
