来源:考试1002026-03-03 02:33:45阅读数:3003
2026年度吉林省监理工程师职业资格考试的网上报名正在进行中。对于部分不适用或未选择“告知承诺制”的考生,以及在线核查未通过的考生,必须参加考前的现场资格审核。2026年吉林监理工程师考前资格审核是报名成功的关键一步,请相关考生务必高度重视,在规定时间内携带齐全材料前往指定地点办理。
⏩ 直达报名入口
审核时间:2026年3月17日——3月20日(工作时间内)。
审核形式:现场人工核查。
适用考生:根据吉林省人事考试中心规定,以下四类考生需参加现场审核:
不适用告知承诺制办理相关事项的;
未选择告知承诺制方式办理相关事项的;
撤回承诺申请的;
身份信息、学历学位、所学专业等在线核查未通过的。
考生需提前准备以下材料的原件,前往审核点进行核验:
学历/学位证明:国务院教育行政部门认可的国民教育系列学历、学位证书。同时需提供学信网出具的《教育部学历证书电子注册备案表》或《高等教育学历认证报告》。
工作年限证明:从事工程施工、监理、设计等业务工作年限的证明材料(需加盖单位公章)。
报名表:网上报名后下载打印的《资格考试报名表》。
免考或增报专业证明(如适用):申请免考基础科目或增报其他专业科目的考生,需提供相应的资格证书等证明材料。
有效身份证件:居民身份证或社会保障卡原件。
方法一:填写文章顶部信息栏
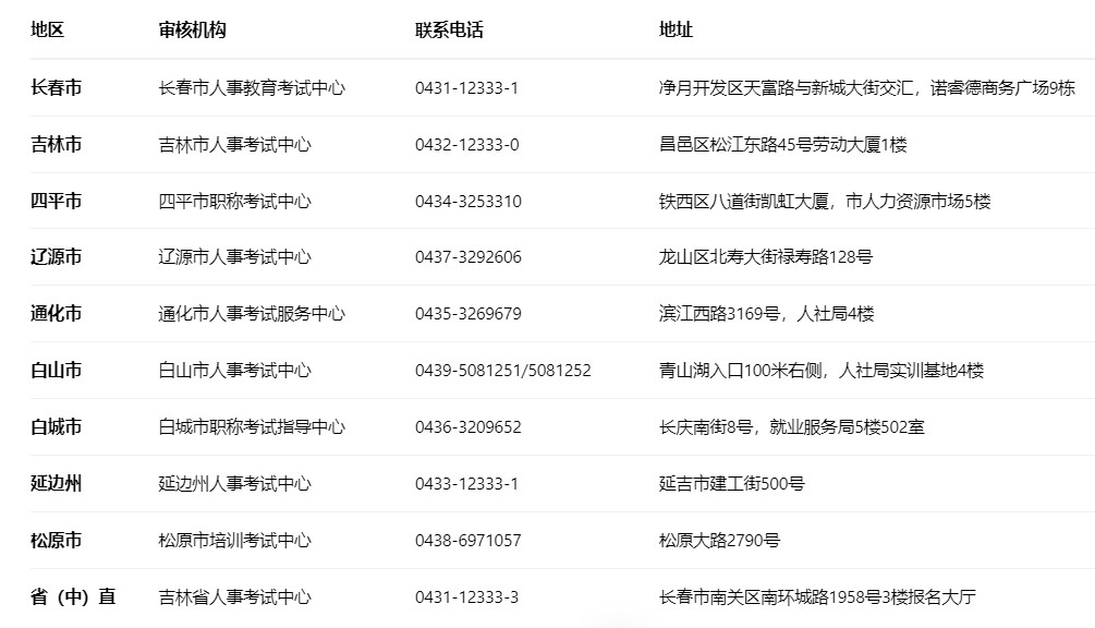
本次2026年吉林监理工程师考前资格审核在全省各市(州)均设点进行,考生应前往报名时所选考区对应的机构办理。具体地址和联系方式如下:

流程简述:考生在完成网上报名后,若系统提示需接受核查,则应在上述规定日期内,携带全部材料原件,前往对应考区的考试机构进行现场核验。
缴费衔接:现场审核通过的考生,请务必在2026年3月24日前登录报名平台完成网上缴费,缴费成功方视为报名最终完成。
诚信承诺:考生务必确保所提交的所有材料真实、准确。若在审核或考后监管中发现弄虚作假,将导致报名无效、成绩作废,甚至被记入考试诚信档案,承担相应法律责任。
准考证打印:报名及审核全部完成后,考生可于考前一周内登录中国人事考试网打印准考证。
2026年吉林监理工程师考前资格审核是报名流程中的关键环节,时间定于3月17日至20日。请相关考生仔细核对自身情况,提前备齐所有证明材料,按时前往指定地点完成审核,为后续参加5月16日、17日的考试扫清障碍。
