来源:考试1002025-12-02 18:01:23阅读数:3299
2026年4月15日前,各省级考试管理机构公布本地区初级会计资格考试准考证网上打印起止时间。
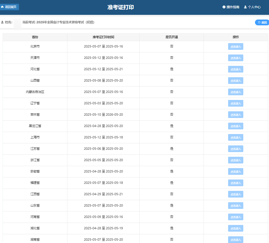
2026年助理会计师准考证打印入口为全国会计人员统一服务管理平台https://ausm.mof.gov.cn/index/

第1步:登录全国会计人员统一服务管理平台https://ausm.mof.gov.cn/index/


第2步:登录成功后,点击“会计专业技术资格考试”或考试服务下的“准考证打印”按钮进入

第3步:选择“全国会计专业技术资格考试(初级)”点击进入

第4步:选择报考省份,选择“点击进入”按钮进入下一级页面,核对准考证信息是否有误。请认真核对初级会计准考证上的姓名、照片、准考证号、身份证号等信息,确认无误后,点击打印,即可成功打印。

1.考试开始前30分钟,考生凭本人准考证和有效居民身份证(香港、澳门、台湾籍考生凭有效身份证明,外籍人员凭有效护照,下同)进入考场,完成电子签到后,按照监考人员指定的位置入座,并将准考证和有效居民身份证放置在桌面右上角。
2.考生进入考场时,应将准考证和有效居民身份证之外的其他物品(手机、智能手表、智能眼镜等电子设备应设置成关闭状态)存放在考场指定位置。 携带准考证和有效居民身份证之外的物品(含电子、通讯、计算、存储等设备)进入考位,按违纪进行处理。
3.考生在完成签到后不得随意离开考场,如确有特殊情况需要暂时离开考场,必须经监考人员同意并由指定的监考人员陪同,凭本人有效居民身份证出入考场。考生在考试中途暂离考场,其离场时间计入本人的考试时间。
4.考场为考生统一提供演算纸、笔。考试结束后,演算纸、笔由监考人员统一收回,考生不得带出考场,违者按违纪进行处理。
5.考生入座后,在登录界面输入准考证号和居民身份证号登录考试系统,认真核对屏幕显示的本人相关信息,阅读并遵守《考生须知》及《操作说明》,等待考试开始。
6.考试时间以考试系统计时器为准。考试开始30分钟后,未签到的考生视为缺考,考试系统不再接受考生的登录。
7.进入考场后,考生应自觉遵守考场规定,维护考场秩序,尊重并自觉接受监考人员的监督和检查,保持考场安静,遇到问题应当举手示意。
8.考试过程中,如机器设备、网络、电力出现异常情况,考生应及时举手示意,请监考人员协调解决,不得自行处置,严禁自行关闭或重启考试机。
因机器设备故障等客观原因导致答题时间出现损失,考生可以当场向监考人员提出补时要求,由监考人员根据有关规定予以处理。考试结束后,不再受理考生未当场提出的补时要求。
9.考试开始90分钟后,考生方可交卷离开考场。考生交卷后应当立即自行离开考场,严禁关闭考试机,不得在考场附近逗留、交谈或喧哗。
10.考试时间到,考试系统将自动为所有未交卷的考生统一交卷。
11.考试期间,考生应按照考试系统要求进行操作,由于进行与考试无关的操作所造成的一切后果,由考生本人负责。
12.考试期间违纪违规,依据《专业技术人员资格考试违纪违规行为处理规定》(人社部令第31号)进行处理。
考生可点击下列图片直接进入初级会计模拟系统,开始做题
