来源:考试1002026-02-27 16:20:11阅读数:4982
2026年广西初级会计准考证打印入口:考生需先使用报名时注册的用户名登录全国会计人员统一服务管理平台(https://ausm.mof.gov.cn),进入准考证打印模块,选择报考省份,确认证件和姓名信息,输入验证码,点击“查询”按钮进行打印。
第1步:登录全国会计人员统一服务管理平台https://ausm.mof.gov.cn/index/
第2步:登录成功后,点击“会计专业技术资格考试”或考试服务下的“准考证打印”按钮进入
第3步:选择“全国会计专业技术资格考试(初级)”点击进入
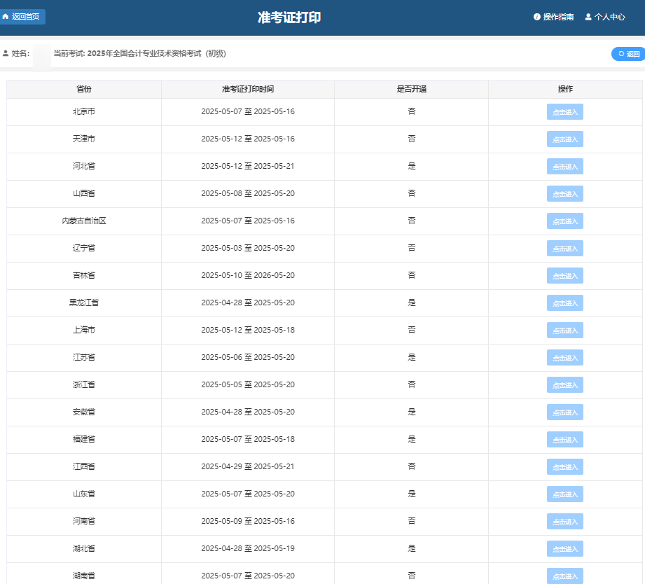
第4步:选择报考省份,选择“点击进入”按钮进入下一级页面,核对准考证信息是否有误。请认真核对初级会计准考证上的姓名、照片、准考证号、身份证号等信息,确认无误后,点击打印,即可成功打印。

2026年4月15日前,将在广西壮族自治区财政厅网站(https://czt.gxzf.gov.cn)公布打印准考证的网络链接、起止时间等有关事项。
1、备好个人证件。考生凭本人准考证和有效居民身份证(香港、澳门、台湾籍考生凭有效身份证明,外籍人员凭有效护照)进入考场。如身份证丢失,考生仅可使用有效期内的临时身份证、驾照或由公安部门出具的带有本人照片且加盖公安部门印章的证明替代。
2、配合入场检查。考生仅能携带规定的证件进入考场(参加高级会计资格考试考生,可以携带装订成册的纸质参考资料),将其他物品(手机、智能手表、智能眼镜等电子设备应设置成关闭状态)存放在考点指定位置。进入考场前,监考人员将核对考生规定证件,并使用金属探测仪进行入场检查。
3、遵守考试时间。根据考试规定,考试时间以考试系统计时器为准。考试开始30分钟后,未签到的考生视为缺考,考试系统不再接受考生的登录。考试开始90分钟后,考生方可交卷离开考场。考点不允许任何外来车辆进入,请考生根据准考证上的考点信息,提前熟悉考点周边情况,综合考虑考点入口到考场实际距离,合理规划交通路线及时间安排。夏初雨水多发,请及时关注最新天气预报预警信息,充分考虑降雨可能造成道路积水、车辆拥堵和进场缓慢等情况,做好出行安排,提前到达考点,留足入场检查、身份验证时间。
4、诚信守纪考试。诚信是《会计人员职业道德规范》基本要求,考生应严格遵守考试规则、考试纪律,维护考场秩序,以诚立身、积极备考;拒绝作弊、诚信参考;明辨义利、防范诈骗;共同创造公平公正考试环境。对不遵守考场守则,不服从考务工作人员管理,有违纪、作弊等行为的,将严格依据《专业技术人员资格考试违纪违规行为处理规定》(人社部令第31号)进行处理;考生违反《中华人民共和国治安管理处罚法》等法律法规的,交由公安机关依法处理,构成犯罪的,依法追究刑事责任。
预祝各位考生考试顺利、取得佳绩!
1.使用激光打印机打印,确保照片、姓名、准考证号、身份证号等信息清晰无误。
2.统一使用A4纸,不分正反面,黑白或彩色均可。
3.禁止采用截图方式打印准考证,确保准考证和考试须知都要完整打印。
4.不得擅自更改准考证的字体样式、照片等内容。
5.建议使用IE浏览器进行准考证的下载和打印。
6.如果系统提示“无此人准考证数据”,可能是由于未缴费或身份证号填写错误,需及时联系报名机构核实。
问:考生的准考证信息如何分配?
答:准考证上的考试时间、考场号等信息由财政部全国编场系统自动分配。
问:考试前遗失了身份证怎么办?
答:遗失身份证的考生,参加考试前须及时到公安部门补办临时身份证或由公安部门出具身份证明材料(带本人照片、身份证等相关信息)。
问:为什么打印准考证时提示无此人准考证数据?
如果系统提示“无此人准考证数据”有两种可能:
一是考生审核通过后没有缴费,没有成功报名。如果是他人或培训机构代报名,请考生向代报人或培训机构核实是否已经缴费,如果没有缴费,则视为放弃报考资格,不能参加考试。
二是报名时身份证号填写错误。如发现是错误的,请及时联系财政局处理。
学习资料推荐
2026年初级会计备考已开始,想要参加2026年初级会计考试人员注意,如何3个月通过初会?
点击下图进入2026年初级会计职称 如何用3个月高效通关两科,解决核心痛点
