来源:考试1002024-10-22 20:48:00阅读数:3456
同专业的一建二建可以一起注册吗?一建二建证书注册有数量限制吗?今天就给大家解答一下:
1、同专业的一建二建可以一起注册吗?
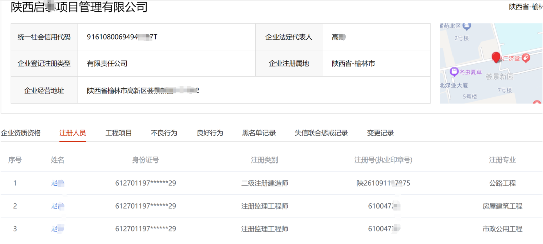
可以!一起来看看下面这张图↓↓

从图上可以看出,他同时注册了以下证书:①注册监理工程师(房建+市政专业);②一级建造师(建筑+市政专业);③二级建造师(市政专业);
其中一建市政和二建市政是一起注册的;同时一建和监理也是可以同时注册的,并不矛盾。

2、一建二建证书注册有数量限制吗?
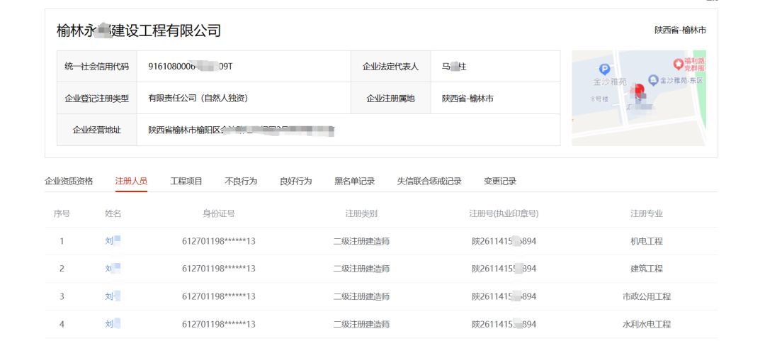
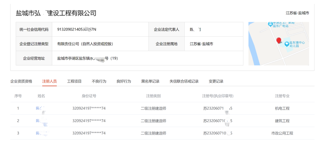
同一家公司的二建一建注册是没有数量限制的。看看下面这张图,这几位建造师人才持有多本二建、一建证书,且都是注册状态。



看完上文,相信大家都明白了。准备参加2025年二建考试的考生注意,事不宜迟,早日开始备考,才能早日拿证。
