来源:考试1002024-02-28 11:18:51阅读数:6317
23年的二建证书大家基本都拿到了,而一建马上出分,很快就会有一波考生拿到一建证书。但要想执业的话,还需要把证书注册起来。最近就有很多考生问我:同专业的一建二建可以一起注册吗?一建二建证书注册有数量限制吗?今天我就来带大家一起看看。
23年的二建证书大家基本都拿到了,而一建马上出分,很快就会有一波考生拿到一建证书。但要想执业的话,还需要把证书注册起来。最近就有很多考生问我:同专业的一建二建可以一起注册吗?一建二建证书注册有数量限制吗?今天我就来带大家一起看看。
一、同专业的一建二建可以一起注册吗?
以前,如果一建二建考取了同专业的证书,那么一建证书注册后,之前注册过的二建证书就会自动被覆盖。
但是现在,同公司情况下可以一起注册了!

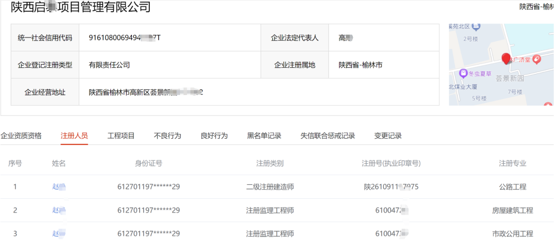
从图上可以看出,他同时注册了以下证书:
①注册监理工程师(房建+市政专业)
②一级建造师(建筑+市政专业)
③二级建造师(市政专业)
其中一建市政和二建市政是一起注册的;同时一建和监理也是可以同时注册的,并不矛盾。

监理、一建一起注册
二、一建二建证书注册有数量限制吗?
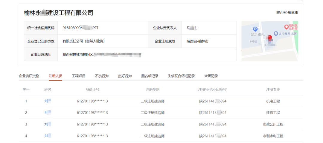
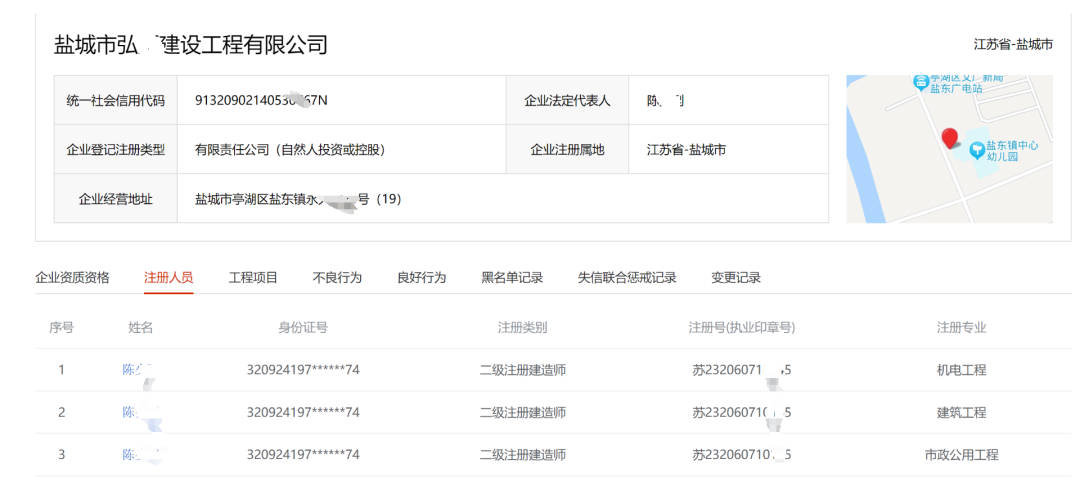
之前网传说一建/二建证书只能注册2个,但实际上并不是,同一家公司的二建一建注册是没有数量限制的。
我随手在网上找了一些企业,可以看到下图的这几位建造师人才持有多本二建、一建证书,且都是注册状态。



